|
LABI jsou vybudovány na Institutu řízení procesů a aplikované
informatiky (viz www.iit.utb.cz, od 1.1.2006 Fakulty aplikované
informatiky) a na Ústavu inženýrství ochrany životního prostředí (viz
www.ft.utb) Univerzity Tomáše Bati ve Zlíně (viz www.utb.cz).

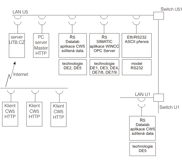
úvodní stránka internetového rozhraní laboratoře
Naše společnost se již déle než 15 let věnuje vývoji programového
vybavení pro průmyslovou a laboratorní automatizaci. Náš klíčový
produkt Control Web si trvale udržuje špičkovou
technologickou úroveň a v naší republice pozici de facto průmyslového
standardu ve svém oboru. V naší republice Control Web
užitečně slouží nejen v mnoha významných průmyslových podnicích, ale
také v mnoha výzkumných a školních laboratořích. Ve srovnání s
většinou pouze konfigurovatelných SCADA systémů totiž používání
systému Control Web studenty nijak neomezuje v tvůrčí
práci. Naše společnost tradičně velmi úzce spolupracuje se školami a
většinu svého programového vybavení dodává pro potřeby výuky zdarma.
Celkově jsme již dodali školám několik tisíc licencí počínaje prvními
úspěšnými systémy Control Panel. Například jen v případě
posledních verzí systému Control Web bylo školám zdarma
poskytnuto cca 1500 licencí v celkové ceně převyšujících 25 milionů
korun. Jakou zlínskou firmu nás velmi těší, že jsme se mohli podílet
na tomto skutečně moderním systému pro univerzitu ve Zlíně. Role
prostředí Control Web zde dokazuje potenciál a
schopnosti tohoto produktu být spojovacím a jednotícím členem, který
na jedné straně dokáže v reálném čase přímo spolupracovat s
jednotlivými automatizačními prostředky a na straně druhé zajistit
komunikaci a otevřenost k celému světu informačních technologií.
Děkujeme panu docentovi Hruškovi za výbornou spolupráci a jsme
rádi, že jako Zlíňané můžeme být pyšní na zlínskou univerzitu.
rc@mii.cz
|